- Brand: Creda
- Categories: Creda Shower Spares
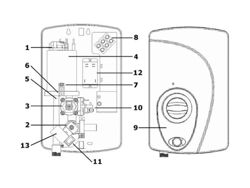
All available shower spares/replacement parts to fit the Creda Jetspa.
Use the main diagram to identify the shower spare(s) you need to replace. Then use the table below to locate your relevant part(s).
Not what you're looking for? Try our unique Shower Spares Finder.
Need any help identifying the fault with your shower? Take a look at our handy Fault Finder page.
Otherwise please feel free to contact us.
-
There are 8 currently available spares for the Creda Jetspa.
These are sorted by diagram reference first (if available) and then by product code in numerical / alphabetical order:
-
Do you have a question about the Creda Jetspa?
Click the button below to send a question to one of our expert members of staff and we will email you back a direct response. If we feel the information might be useful to other customers, we will also show your question below for others to see.
Voted No. 1 in Bathroom
